![[]](/ppr/images/trans.gif) 
       
      BULK Rectangle & Oval Custom Stickers or Magnets
Our custom stickers are a fast and easy way to promote your business, brand or event. Thick, durable vinyl protects your stickers from scratches, water, and 100% waterproof.
 
      64000 Intoxicating Single Side - Adult Softstyle Cotton T-Shirt
64000 Gildan Adult Softstyle Cotton T-Shirt 
preshrunk 100% cotton jersey • 4.5-oz. • heathers 35% cotton/65% polyester • deluxe 30's Softstyle yarns • seamless double-needle 7/8" collar • taped neck and shoulders • rolled forward shoulders • double-needle sleeve and bottom hems • quarter-turned to eliminate center crease • Sizes: S-2XL, selected colors up to 3XL
Size Chart
| Size | S | M | L | XL | 2XL | 3XL | 
|---|---|---|---|---|---|---|
| Chest | 36 | 40 | 44 | 48 | 52 | 56 | 
| Length | 2658 | 2758 | 2858 | 2958 | 3058 | 33 | 
| Sleeve Length | 15 | 1612 | 18 | 1912 | 2034 | 22 | 
 
       
      Birthday 5x7
Includes:
Design Edits
Brown Craft Paper Envelopes
5 x 7 inch Standard Size Vertical Invitation 
Signature Smooth Cardstock 110lb
Please fill in the details which you would like to present on your invitation.
You will be emailed a proof prior to production.
 
      5x7 Wedding
Includes:
Design Edits
Brown Craft Paper Envelopes
5 x 7 inch Standard Size Vertical Invitation 
Signature Smooth Cardstock 110lb
Please fill in the details which you would like to present on your invitation.
You will be emailed a proof prior to production.
 
      5x7 Graduation
Includes:
Design Edits
Brown Craft Paper Envelopes
5 x 7 inch Standard Size Vertical Invitation 
Signature Smooth Cardstock 110lb
Please fill in the details which you would like to present on your invitation.
You will be emailed a proof prior to production.
 
      Float365 sticker & magnets
WATERPROOF VINYL STICKERS & MAGNETS
Our waterproof, fade resistant, die-cut decals and stickers are a great way to customize your stuff!
♦ tumblers
♦ phone or tablets
♦ water bottles
♦ vehicle windows
♦ vehicle body
♦ helmets
♦ coffee mugs
♦ ETC. wherever your creativity leads you...
Nearly anything with a clean smooth, non-porous surface. If you have a question where you can and can’t use them, contact me!
CUSTOMIZE: If you do not see a size suitable for your needs, send me a message! we can make it happen.
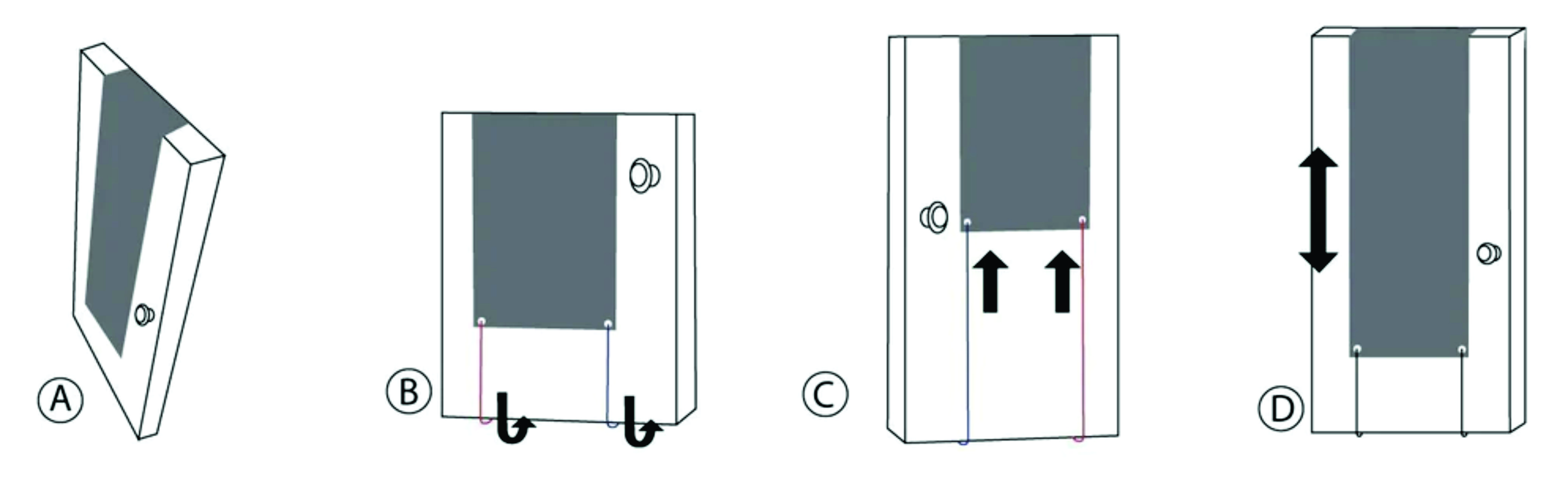
STICKER APPLICATION:
Clean the surface area with rubbing alcohol to remove any residue or debris.
Start be peeling back about a half inch of the paper backing. Place the free edge of the decal to your application area using your fingers or a squeegee to smooth down the edge.
Continue peeling back the paper while smoothing the down the decal. Should you encounter any bubbles, use a sharp pin or the point of an exact knife to poke a small hole in the bubble. Force the air out of the bubble with your finger. Decal can be removed clean but not re-used. Any adhesive residue left over after decal removal can be cleaned up with a small amount of rubbing alcohol or Goo-Gone.
 
      Baby Shower 5x7
Includes:
Design Edits
Brown Craft Paper Envelopes
5 x 7 inch Standard Size Vertical Invitation 
Signature Smooth Cardstock 110lb
Please fill in the details which you would like to present on your invitation.
You will be emailed a proof prior to production.
 
      Vertical Greeting Card
4 x 5.5 inch Standard Size Vertical Invitation 
Signature Smooth Cardstock 110lb
Envelope Included
 
      Horizontal Greeting Card
4 x 5.5 inch Standard Size Vertical Invitation 
Signature Smooth Cardstock 110lb
Envelope Included
 
      Wedding 5x7 Invite
Includes:
Design Edits
Brown Craft Paper Envelopes
5 x 7 inch Standard Size Vertical Invitation 
Signature Smooth Cardstock 110lb
Please fill in the details which you would like to present on your invitation.
You will be emailed a proof prior to production.
 
      Fill In - Birthday 5x7
Includes:
Design Edits
Brown Craft Paper Envelopes
5 x 7 inch Standard Size Vertical Invitation 
Signature Smooth Cardstock 110lb
Please fill in the details which you would like to present on your invitation.
You will be emailed a proof prior to production.
 
      Custom School Spirit Door Banner
PRINTED AREA 65x24 INCHES
Simple, Easy Install!

Hanging Instructions
We don't supply the apparatus to connect the banner ends, because everyone's door will be vastly different. It does come with grommets.
Here are some recommendations:
We suggest using very thin bungee cords, twine or a strong thin string through the grommets. You can even use a nice wide ribbon, if you want to dress it up a bit!
You might find some other product that works even better for your set up.
 
           
       
      seasonal door banner
PRINTED AREA 65x24 INCHES
Simple, Easy Install!

Hanging Instructions
We don't supply the apparatus to connect the banner ends, because everyone's door will be vastly different. It does come with grommets.
Here are some recommendations:
We suggest using very thin bungee cords, twine or a strong thin string through the grommets. You can even use a nice wide ribbon, if you want to dress it up a bit!
You might find some other product that works even better for your set up.
 
           
       
      Kindergarten
Make a statement with a custom double sided weatherproof 18 x 24 inch corrugated plastic yard sign! Your sign will include a metal ground stake.
 
       
      Full Photo Sports Banner
PRINTED AREA 65x24 INCHES
Simple, Easy Install!

Hanging Instructions
We don't supply the apparatus to connect the banner ends, because everyone's door will be vastly different. It does come with grommets.
Here are some recommendations:
We suggest using very thin bungee cords, twine or a strong thin string through the grommets. You can even use a nice wide ribbon, if you want to dress it up a bit!
You might find some other product that works even better for your set up.
 
           
       
      Photo Collage
PRINTED AREA 65x24 INCHES
Simple, Easy Install!

Hanging Instructions
We don't supply the apparatus to connect the banner ends, because everyone's door will be vastly different. It does come with grommets.
Here are some recommendations:
We suggest using very thin bungee cords, twine or a strong thin string through the grommets. You can even use a nice wide ribbon, if you want to dress it up a bit!
You might find some other product that works even better for your set up.
 
           
       
      commercial yard sign
Make a statement with a custom double sided weatherproof 18 x 24 inch corrugated plastic yard sign! Your sign will include a metal ground stake.
 
       
      Designer Series
Your decal is custom made to your specifications.
Use the available text boxes to type the exact information you would like to be used on your decal. This includes all punctuation, abbreviations and capitalization. We use this exact text to format your custom decal. Please use classic characters as we can not accommodate the use of emojis. Although we do not have a character limit, we will reformat the text as necessary.
If you would like to see a preview of your order before production, please make that selection above. Remember to use an email at checkout which you check frequently. Once a proof is requested, we will wait for your approval before proceeding with your order. Your response time will greatly impact production/shipping times.
Our decals are created to go on the outside of your vehicle. They are semi-permanent, meaning they can be removed with little to no residue but can not be re-used. They are weather and fade resistant up to 5 years when installed properly following the applications instructions provided with your order. Instructions can also be found here. Care for your decal is simple; avoid ice-scrapers and use non-ammonia based cleaners. If you have any questions, please contact us! We are here to help Monday - Friday 10am - 6pm EST.
 
Thank you for choosing to support our small business!
 
      Ribbons
Your decal is custom made to your specifications.
Use the available text boxes to type the exact information you would like to be used on your decal. This includes all punctuation, abbreviations and capitalization. We use this exact text to format your custom decal. Please use classic characters as we can not accommodate the use of emojis. Although we do not have a character limit, we will reformat the text as necessary.
If you would like to see a preview of your order before production, please make that selection above. Remember to use an email at checkout which you check frequently. Once a proof is requested, we will wait for your approval before proceeding with your order. Your response time will greatly impact production/shipping times.
Our decals are created to go on the outside of your vehicle. They are semi-permanent, meaning they can be removed with little to no residue but can not be re-used. They are weather and fade resistant up to 5 years when installed properly following the applications instructions provided with your order. Instructions can also be found here. Care for your decal is simple; avoid ice-scrapers and use non-ammonia based cleaners. If you have any questions, please contact us! We are here to help Monday - Friday 10am - 6pm EST.
 
Thank you for choosing to support our small business!
Size Chart
 
  
   
      Guardian Angel Decal
Your decal is custom made to your specifications.
Use the available text boxes to type the exact information you would like to be used on your decal. This includes all punctuation, abbreviations and capitalization. We use this exact text to format your custom decal. Please use classic characters as we can not accommodate the use of emojis. Although we do not have a character limit, we will reformat the text as necessary.
If you would like to see a preview of your order before production, please make that selection above. Remember to use an email at checkout which you check frequently. Once a proof is requested, we will wait for your approval before proceeding with your order. Your response time will greatly impact production/shipping times.
Our decals are created to go on the outside of your vehicle. They are semi-permanent, meaning they can be removed with little to no residue but can not be re-used. They are weather and fade resistant up to 5 years when installed properly following the applications instructions provided with your order. Instructions can also be found here. Care for your decal is simple; avoid ice-scrapers and use non-ammonia based cleaners. If you have any questions, please contact us! We are here to help Monday - Friday 10am - 6pm EST.
 
Thank you for choosing to support our small business!
Size Chart
 
  
   
      Always In My Heart
Your decal is custom made to your specifications.
Use the available text boxes to type the exact information you would like to be used on your decal. This includes all punctuation, abbreviations and capitalization. We use this exact text to format your custom decal. Please use classic characters as we can not accommodate the use of emojis. Although we do not have a character limit, we will reformat the text as necessary.
If you would like to see a preview of your order before production, please make that selection above. Remember to use an email at checkout which you check frequently. Once a proof is requested, we will wait for your approval before proceeding with your order. Your response time will greatly impact production/shipping times.
Our decals are created to go on the outside of your vehicle. They are semi-permanent, meaning they can be removed with little to no residue but can not be re-used. They are weather and fade resistant up to 5 years when installed properly following the applications instructions provided with your order. Instructions can also be found here. Care for your decal is simple; avoid ice-scrapers and use non-ammonia based cleaners. If you have any questions, please contact us! We are here to help Monday - Friday 10am - 6pm EST.
 
Thank you for choosing to support our small business!
Size Chart
 
  
   
      Signature
Your decal is custom made to your specifications.
Use the available text boxes to type the exact information you would like to be used on your decal. This includes all punctuation, abbreviations and capitalization. We use this exact text to format your custom decal. Please use classic characters as we can not accommodate the use of emojis. Although we do not have a character limit, we will reformat the text as necessary.
If you would like to see a preview of your order before production, please make that selection above. Remember to use an email at checkout which you check frequently. Once a proof is requested, we will wait for your approval before proceeding with your order. Your response time will greatly impact production/shipping times.
Our decals are created to go on the outside of your vehicle. They are semi-permanent, meaning they can be removed with little to no residue but can not be re-used. They are weather and fade resistant up to 5 years when installed properly following the applications instructions provided with your order. Instructions can also be found here. Care for your decal is simple; avoid ice-scrapers and use non-ammonia based cleaners. If you have any questions, please contact us! We are here to help Monday - Friday 10am - 6pm EST.
 
Thank you for choosing to support our small business!
Size Chart
 
  
   
      980 Designer Series - Lightweight T-Shirt
- 100% preshrunk combed ringspun cotton
- Shoulder-to-shoulder taping
- Double-needle stitching on sleeves and bottom hem
- TearAway
Size Chart
| Size | XS | S | M | L | XL | 2XL | 3XL | 
|---|---|---|---|---|---|---|---|
| Full Body Length | 27 | 28 | 29 | 31 | 32 | 33 | |
| Sleeve Length | 8 | 8.5 | 9 | 9.5 | 10 | 10.5 | |
| Neck Size | 17 | 17.5 | 18 | 19 | 20 | 21 | |
| Body Width | 18 | 20 | 22 | 24 | 26 | 28 | 
 
       
      18500 GUARDIAN ANGEL HOODIE
18500 Gildan Adult Heavy BlendTM Hooded Sweatshirt 
50/50 blended sweats for comfort and durability. Coordinate: Youth 18500B 
Now available up to 5XL • preshrunk 50% cotton/50% polyester • 7.75-oz. • air-jet yarn for softer feel and no pilling • double-lined hood with matching drawstring • double-needle stitching • pouch pocket • 1x1 athletic rib with spandex • quarter-turned to eliminate center crease • Sizes: S-5XL
Size Chart
| Size | S | M | L | XL | 2XL | 3XL | 4XL | 
|---|---|---|---|---|---|---|---|
| Chest | 40 | 44 | 48 | 52 | 56 | 60 | 64 | 
| Length | 26 | 27 | 28 | 29 | 30 | 31 | 32 | 
| Sleeve Length | 33 | 34 | 35 | 36 | 37 | 38 | 39 | 
 
       
      G125 GUARDIAN ANGEL HOODIE
- 50% cotton, 50% polyester
- Pill-resistant air jet yarn
- 1x1 spandex ribbed cuffs and waistband
- Double-needle stitched pouch pocket
- Fully coverseamed
Size Chart
| Size | S | M | L | XL | 2XL | 3XL | 
|---|---|---|---|---|---|---|
| Full Body Length | 27 | 28 | 29 | 30 | 31 | 32 | 
| Sleeve Length | 35 | 36 | 37 | 38 | 39 | 40 | 
| Body Width | 20 | 22 | 24 | 26 | 28 | 30 | 
 
      
